新车车牌网上选号实战攻略
- 时间:
- 浏览:3034
- 来源:车牌上牌无忧网
网上选号系统更为公平、公正、公开,因为有自编号选号的机会,所以选择到好号的机会更大,当然竞争也是十分激烈的,尤其是还有很多相对专业号贩子也是我们的对手,今天结合网络常识来给大家分享一篇网上选号的实战攻略技巧。


1、先去选号系统注册登记,将该提交的资料全部提交并通过审核,不要等抢注时再去完善这些内容,具体注册方法不再详细介绍,身份证号码、手机号码、实名认证、车架号、合格证编号、发票编号等等。。。
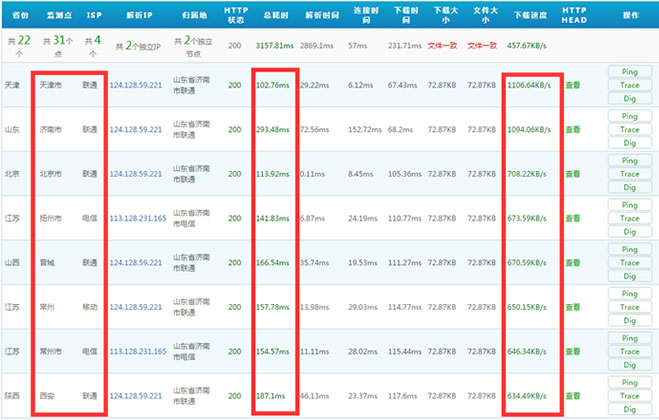
2、打开查IP的网站:http://www.ip138.com/,查询网上选号系统的域名所属网络,我这里以山东选号系统为例https://sd.122.gov.cn/,了解网站所在服务器的网络情况,来确定我们届时抢注时选择的宽带。这里我们看到该网站好像启动了CDN,无法查到真实地址,那么我们进行第二种方式,打开http://ce.cloud.360.cn/,将选号系统域名填入进行网站测速,查看结果找出总耗时最短和下载速度最快的线路,分析得出我们如果为了保证网络速度应当选择山东联通宽带,或者有条件的话去有联通宽带的网吧去抢注,因为网吧都是百兆宽带。


3、定好将要抢注的几组车牌号。自编号有20次机会,分4个批次进行,一批次自编5个号码进行依次验证,如果已被别人抢注,可再次自编提交验证,总共4个批次,所以大家要提前确定好这4组20个自编号和验证的先后顺序。
4、熟练自编号流程。例如:公告明天新放出新号段,网上选号系统的工作时间是早9:00到晚上23:00,所以我们开始抢注的时间也就是明天9点整开始,这个时间以网站时间为准。9点开始直接进入第二阶段的手机验证,迅速获取验证码并输入,即可开始自编号,在编号时不要激动,因为这里是有倒计时的,你就是自编号后也要等待倒计时结束才可开始验证。

最后预祝大家抢注成功。
另外需要提醒大家的,如果您当地没有新的号段放出,您可以在本站查找你们当地的可选车牌号码库进行分析,另外选号策略应当是先使用随机选号,曝光50个可选号码拍照留存,然后再进行分析后,还可用自编号进行选取曾经曝光的号码。