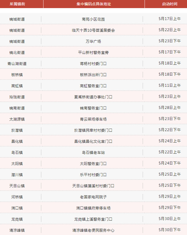
临安18个镇街20个电动自行车上牌点!家有电动车的赶紧就近去上牌
- 时间:
- 浏览:4562
- 来源:车牌上牌无忧网
18个镇街20个编码点已陆续开启

家有电动自行车的小伙伴
赶紧就近找点为爱车上牌编码
从5月17日开始,电动自行车规范化管理登记编码工作在锦城街道、锦北街道等地陆续启动。

上牌时间
周一至周六
上午8:00-11:30
下午14:00-17:30
各镇街电动自行车集中编码点

路面现行电动自行车
防盗编码登记工作流程
核查信息
车主驾驶电动自行车并携带本人身份证、户口本等有效身份证明及购车发票收据、合格证等车辆有效证明材料,如果车辆证明材料遗失,车主需现场签署车辆合法来源承诺书,如代为办理的还须持本人身份证。被盗抢骗车辆、违规加装改装车辆将不能防盗编码登记。
信息登记
车主如实填写防盗编码登记申请表,并自愿自主选择电动自行车的保险套餐。申请表经本人签名确认后缴纳保险费用,并由现场工作人员将相关信息录入电动自行车“循道”APP完成车辆备案登记及保险投保。
安全教育
由现场工作人员对车主开展电动自行车规范、安全出行教育,车主现场签订《电动自行车规范出行承诺书》。
编码上牌
车主自主选择车辆的防盗编码牌号码,并由现场工作人员完成电动自行车防盗编码牌和电子标签的安装。
缴纳保险
车主可自主选择电动车的保险方案并向保险公司缴纳保险费用完成保险投保。除第三责任险外还赠送三年的车辆盗抢险。

事故故障:车辆出险保险理赔
车辆行驶中发生意外事故,导致第三者遭受人生伤亡或财产直接损毁,依法应当由保险人承担的经济赔偿责任,保险公司按照保险合同约定负责赔偿,最高累计赔付金额3万元/年。
盗抢故障:车辆被盗保险理赔
发现车辆被盗后,拨打110报警,公安机关将会核实信息予以受理。如果公安机关在报案受理后的60天未找回安装过防盗装置的被盗车辆,自报警之日60天后,车主可携带派出所证明等材料到保险公司理赔。自购买之日起一年内的新车,每辆赔1400元,购买之日一年以上的车辆赔700元。
你家电动自行车上牌编码了吗?